Prodotti, prezzi, dimensioni, possono subire variazioni senza preavviso, chiedere la conferma prima dell'ordine.

Prices, products, dimension, could be changed, Ask before order.

go to AUDIOKIT Home Page


Prezzi e prodotti aggiornati sul nuovo sito Audiokit e-Shop cliccando qui !

Update prices & products on new e-Shop Audiokit website click Here

 

 

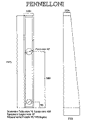
"Pennelloni" diffusori monovia

"Pennelloni" monoway loudspeakers system

Progetto di Fabio Masia & Audiokit Team

Fabio Masia & Audiokit Team Project

   

Model

Type

Usage sensibility 

Speakers

Cost grade Author Referenced
Pennelloni monoway TQWT 25 Lt 10 W Floor 90 db Fostex ° Masia/Audiokit   -

Vista la natura variabile della componentistica, e le esigenze personali di ciascun autocostruttore, non possiamo offrire un vero e proprio KIT di montaggio standard, si prega di scegliere i componenti dal nostro sito Internet, qualora alcuni componenti non dovessero essere presenti, potete richiedere i prezzi tramite e-mail

 

 

Descrizione      Description
FOSTEX FE 103 Sigma 8 Ohm or  FE 127 or FE108E Sigma etc....  (change hole on project)

 

Prezzi e prodotti aggiornati sul nuovo sito Audiokit e-Shop cliccando qui !

Update prices & products on new e-Shop Audiokit website click Here

 

Descrizione e filosofia di progetto      Description and Project  philosophy 

a cura di Fabio Masia & Audiokit Team

Non sono Grandi pennelli da intingere in un secchio di vernice, ma Due stangoni alti ed esili, tutti da ascoltare, nati con l'intento di sperimentare varie soluzioni con gli altoparlanti Fostex FE 103 Sigma, senza tribolare tanto con la solita tavola ripiegata e soprattutto la solita infame feritoia sempre molto difficile da rifinire in fase di costruzione del cabinet !! Inoltre l'intento era quello di ottimizzare il punto di emissione rispetto ai convenzionali TWQT, e tirare fuori da formule concrete, qualcosa di originale.

Ebbene si , il tutto suona molto più equilibrato veloce e tutto sommato meno nasale, al punto che non mi sono (quasi) accorto che un Cliente si è praticamente portato via i brutti prototipi (chiodi compresi !!) al solo prezzo degli altoparlanti e del legno al mq, tutto sommato con due pennellate di tinta pastello, si inseriscono elegantemente in qualsiasi ambiente (magari mettendoci sopra una piantina di edera risolviamo il famoso WAF)

 

Pennel2.gif (16724 byte)

Click for Big image

Torna all'indice    Back to index

 

Prezzi e prodotti aggiornati sul nuovo sito Audiokit e-Shop cliccando qui !

Update prices & products on new e-Shop Audiokit website click Here

 

mercoledì, 02 luglio 2014


Copyright © 1996 - 2009 Audiokit  All Right reserved, name and brands are of respective owners.

go to AUDIOKIT Home Page